客戶案例/Customer Case
新聞中心/NEWS
-
全自動機器人高壓反應釜
全自動機器人高壓反應釜,可根據實驗要求,配置單工位和多工位高壓反應釜。選擇多種釜體材質如:316L不銹鋼、哈氏合金C27...MORE+
-
鑄造大會在西班牙召開
展會時間:2025年9月25日。展會地點:西班牙,畢爾巴鄂1 、壓鑄設備;熔煉設備;各種冷室/ 熱室壓鑄機(鋁、鋅、銅、...MORE+
-
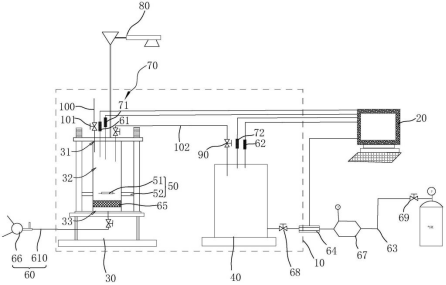
聚合反應連續流裝置,高分子材料可控合成
聚合反應連續流裝置,高分子材料可控合成(分子量分布PDI<1.2),開啟高分子材料可控合成的新紀元,精密控制、高效...MORE+


































